Dual Fuel Range Manual ZLINE Kitchen and Bath

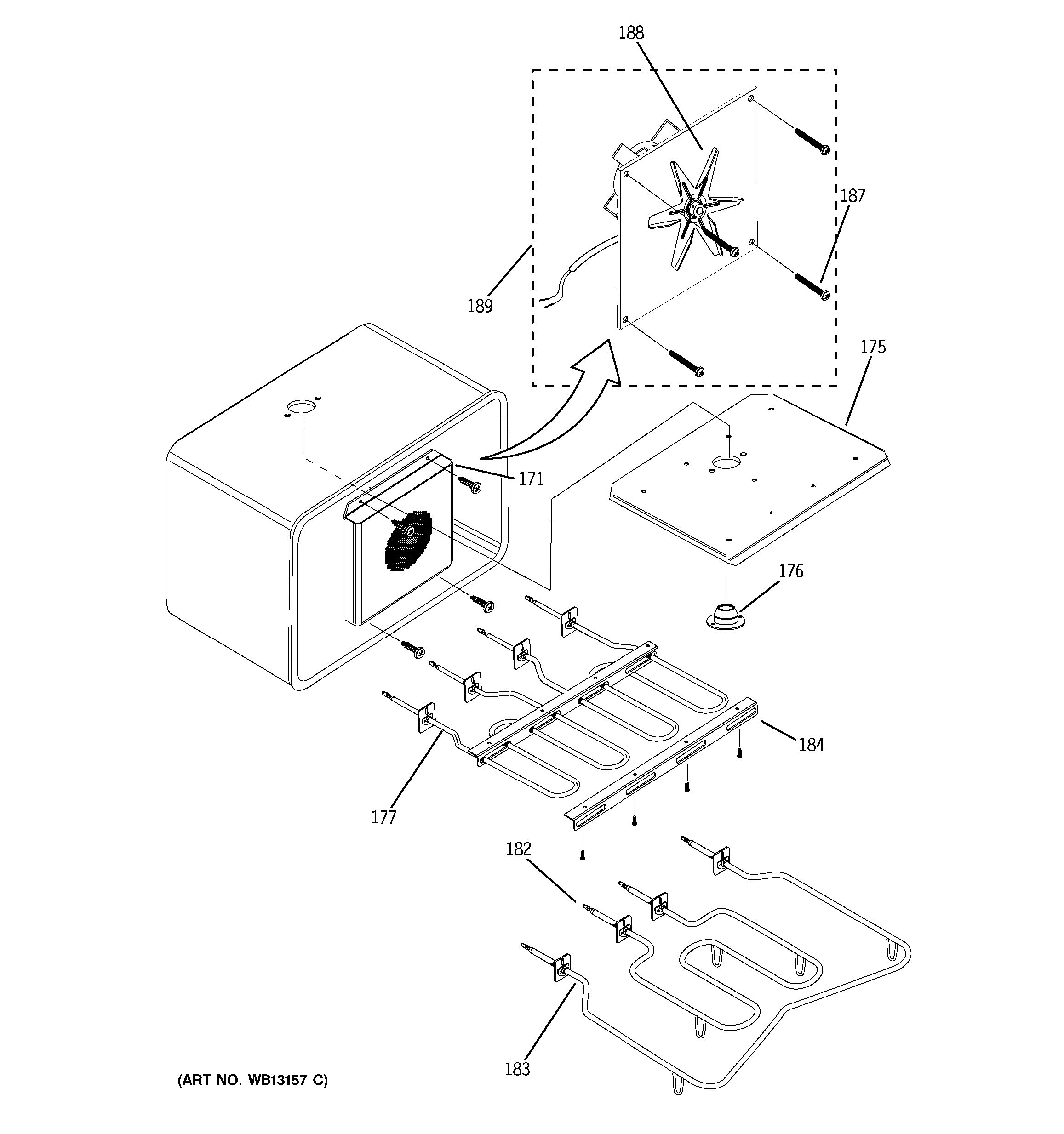
Zline Range Parts Diagram. Assembly View for FREEZER SECTION, TRIM & COMPONENTS ZICS360NRHRH Each piece plays a specific role, and recognizing their arrangement can make troubleshooting or repairs more straightforward Find product manuals and installation guides for all ZLINE products including range hoods, ranges, refrigerators, dishwashers, cooktops, microwaves, wall ovens.

Assembly View for FREEZER SECTION, TRIM & COMPONENTS ZICS360NRHRH
Assembly View for FREEZER SECTION, TRIM & COMPONENTS ZICS360NRHRH from www.geapplianceparts.com

Page 52 CHANGING PARTS SINGLE MOTOR ELECTRICAL DIAGRAM Control Knobs: One of the most noticeable parts of a Zline range, the control knobs are responsible for adjusting the temperature and settings of the burners

Assembly View for FREEZER SECTION, TRIM & COMPONENTS ZICS360NRHRH

To ensure proper functioning of your cooking appliance, it is essential to familiarize yourself with the layout of its components Each piece plays a specific role, and recognizing their arrangement can make troubleshooting or repairs more straightforward Page 54: Troubleshooting And Faq TROUBLESHOOTING Where are ZLINE products manufactured? All ZLINE products are manufactured in ZLINE facilities overseas.

Wall Mounted Range Hood in Stainless Steel (KL2) ZLINE Kitchen and Bath. The ZLINE RA-012E Range Dual Wok Outer Ring Cap is designed to fit all ZLINE Ranges To ensure proper functioning of your cooking appliance, it is essential to familiarize yourself with the layout of its components

Everything You Need to Know Zline Range Parts Diagram Explained. This is the official site for ordering parts and accessory items for all ZLINE Kitchen and Bath products Find product manuals and installation guides for all ZLINE products including range hoods, ranges, refrigerators, dishwashers, cooktops, microwaves, wall ovens.